1
/
of
3
NB
محمل LBE5 بوش كروي 5 مم لمحرك خطي
محمل LBE5 بوش كروي 5 مم لمحرك خطي
Regular price
$17.27 USD
Regular price
$24.99 USD
Sale price
$17.27 USD
Unit price
/
per
Shipping calculated at checkout.
Couldn't load pickup availability
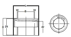
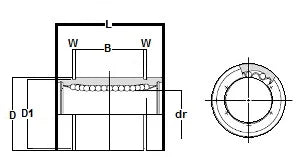
| LBE5 NB النوع القياسي: وحدة انزلاق صنع في اليابان: أنظمة NB الخطية |
محمل LBE5 NB من النوع القياسي، بقياس قطر داخلي 5 مم، مادة الحامل راتنج، السلسلة مستخدمة بشكل رئيسي في الولايات المتحدة الأمريكية، علامة NB (أنظمة المحامل الخطية نيبون)، صنع في اليابان.
|
| الأبعاد الرئيسية | |||||||||
|---|---|---|---|---|---|---|---|---|---|
| dr | D | L | B | W | D1 | ||||
| مم | التحمل | مم | التحمل | مم | التحمل | مم | التحمل | ||
| 5 | 0-8 | 12 | 0-8 | 22 | 0-0.2 | 14.5 | 0-0.2 | 1.1 | 11.5 |
شارك
