1
/
of
3
NB
KB30UU NB Bearing 30mm Ball Bushings Linear Motion Bearing
KB30UU NB Bearing 30mm Ball Bushings Linear Motion Bearing
Regular price
$74.60 USD
Regular price
$82.99 USD
Sale price
$74.60 USD
Unit price
/
per
Shipping calculated at checkout.
Couldn't load pickup availability
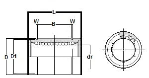
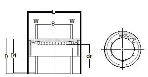
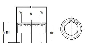
| KB30UU NB Standard Type:Slide Unit Made in Japan:NB Linear Systems |
KB30UU NB Standard Type Bearing, measures an inner diameter of 30mm, Bearing is seals on both sides, Series mainly used in the USA, NB brand (Nippon Bearing Linear Systems), made in Japan.
|
| Major Dimensions | |||||||||
|---|---|---|---|---|---|---|---|---|---|
| dr | D | L | B | W | D1 | ||||
| mm | tolerance | mm | tolerance | mm | tolerance | mm | tolerance | ||
| 30 | 11-1 | 47 | 0-11 | 68 | 0-0.3 | 52.1 | 0-0.3 | 1.85 | 44.5 |
Share
