1
/
of
3
NB
LME122232UU Bearing 12mm Ball Bushing Linear Motion Bearing
LME122232UU Bearing 12mm Ball Bushing Linear Motion Bearing
Regular price
$31.45 USD
Regular price
$34.99 USD
Sale price
$31.45 USD
Unit price
/
per
Shipping calculated at checkout.
Couldn't load pickup availability
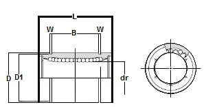
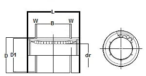
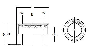
| LME122232UU NB Standard Type:Slide Unit Made in Japan:NB Linear Systems |
LME122232UU NB Standard Type Bearing, measures an inner diameter of 12mm, Bearing is seals on both sides, fSeries mainly used in the USA, NB brand (Nippon Bearing Linear Systems), made in Japan.
|
| Major Dimensions | |||||||||
|---|---|---|---|---|---|---|---|---|---|
| dr | D | L | B | W | D1 | ||||
| mm | tolerance | mm | tolerance | mm | tolerance | mm | tolerance | ||
| 12 | 0-8 | 22 | 0-9 | 32 | 0-0.2 | 22.9 | 0-0.2 | 1.3 | 21 |
Share
