1
/
of
2
NB
LME304768 Bearing 30mm Ball Bushing Linear Motion Bearing
LME304768 Bearing 30mm Ball Bushing Linear Motion Bearing
Regular price
$61.12 USD
Regular price
$67.99 USD
Sale price
$61.12 USD
Unit price
/
per
Shipping calculated at checkout.
Couldn't load pickup availability
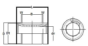
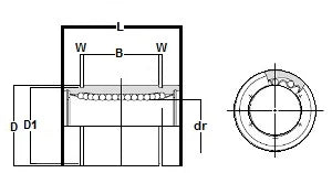
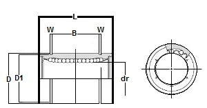
| LME304768 NB Standard Type:Slide Unit Made in Japan:NB Linear Systems |
|
LME304768 NB Standard Type Bearing, measures an inner diameter of 30mm, Series mainly used in the USA, NB brand (Nippon Bearing Linear Systems), made in Japan.
|
| Major Dimensions | |||||||||
|---|---|---|---|---|---|---|---|---|---|
| dr | D | L | B | W | D1 | ||||
| mm | tolerance | mm | tolerance | mm | tolerance | mm | tolerance | ||
| 30 | 11-1 | 47 | 0-11 | 68 | 0-0.3 | 52.1 | 0-0.3 | 1.85 | 44.5 |
Share
