1
/
of
3
NB
NB SW24UU 1-1/2" Bore Ball Bushings Linear Motion
NB SW24UU 1-1/2" Bore Ball Bushings Linear Motion
Regular price
$175.28 USD
Regular price
$194.99 USD
Sale price
$175.28 USD
Unit price
/
per
Shipping calculated at checkout.
Couldn't load pickup availability
| SW24UU:Made in Japan:NB Linear Systems Nippon Bearing Linear Systems |
|
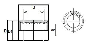
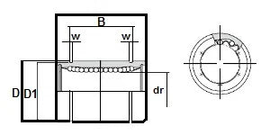
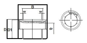
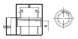
SW24UU linear motion ball bushings/bearings, the inner diameter(bore) is 1 1/2" inch dimensions with steel retainer, NB brand (Nippon Bearing Linear Systems), made in Japan.
|
|||||||||||||||||||||
Share
