1
/
of
3
NB
NB SWF24GWUU 1-1/2" Ball Bushings Round Flange Wide Linear Motion
NB SWF24GWUU 1-1/2" Ball Bushings Round Flange Wide Linear Motion
Regular price
$466.53 USD
Regular price
$519.00 USD
Sale price
$466.53 USD
Unit price
/
per
Shipping calculated at checkout.
Couldn't load pickup availability
| SWF24GWUU:Made in Japan:NB Linear Systems Sealed Round Flange Double Wide Type Nippon Bearing Linear Systems |
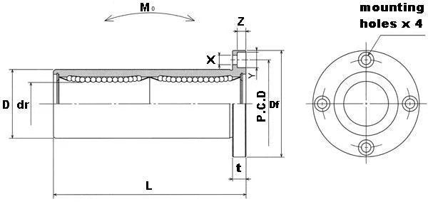
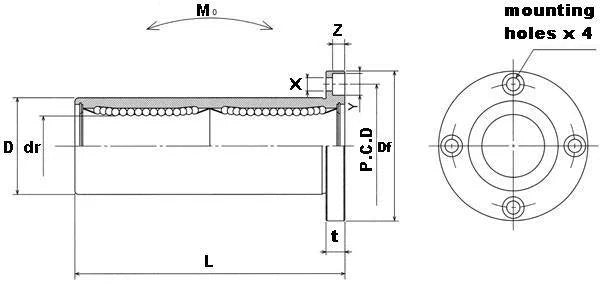
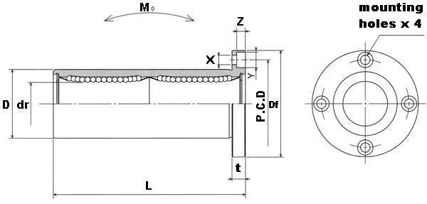
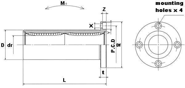
SWF24GWUU 1-1/2" Bore Sealed linear motion ball bushings/bearings, the inner diameter(bore) is 1-1/2" inch dimensions with Resin retainer, bearing is a high accuracy grade linear bushings, series mainly used in the USA, NB brand (Nippon Bearing Linear Systems), made in Japan.
|
| Major dimensions | ||||||||
|---|---|---|---|---|---|---|---|---|
| dr | D | L | DF | t | P.C.D. | X | Y | Z |
| 1-1/2" | 2-3/8" | 5-11/16" | 3-3/4" | 1/2" | 3-1/16" | 11/32" | 1/2" | 21/64" |
Share
